Книга Дождевые черви для повышения урожая, страница 20 – Виктор Горбунов

Авторы: А Б В Г Д Е Ж З И Й К Л М Н О П Р С Т У Ф Х Ч Ш Ы Э Ю Я
Книги: А Б В Г Д Е Ж З И Й К Л М Н О П Р С Т У Ф Х Ц Ч Ш Щ Ы Э Ю Я
Бесплатная онлайн библиотека LoveRead.me

Онлайн книга «Дождевые черви для повышения урожая»

📃 Cтраница 20

Кокон представляет собой овальную упругую капсулу и напоминает по форме лимон. Окраска – светло-желтая у свежеотложенных и коричневая – у дозревающих. Диаметр их – от 2 до 4 мм. В каждом коконе, в зависимости от условий содержания культуры, может развиваться от 2 до 20 яиц. Вылупившиеся червячки имеют длину 1 мм, а к 6–7-дневному возрасту подрастают до 4–7 мм. Они тонкие, как нитки, и отличаются наличием четко выраженного красного спинального сосуда. После выхода из кокона они начинают питаться.

Кровеносная система дождевых червей замкнутая и состоит из двух крупных (спинального и брюшного) кровеносных сосудов. В каждом сегменте тела два крупных кровеносных сосуда соединены «кровеносными» полукольцами. Кровь у кольчецов красная за счет наличия в жидкой части крови (кровяной плазме) вещества, очень близкого гемоглобину крови позвоночных (гемокруорин).

Специальных органов дыхания нет, они дышат всей поверхностью тела. Тонкая кутикула и нежность кожных покровов, богатая сеть кожных кровеносных сосудов обеспечивают возможность поглощения кислорода из окружающей среды. Кутикула хорошо смачивается водой, и кислород сначала растворяется в воде. Это обусловливает необходимость сохранения кожи во влажном состоянии.

Остатки переработанной пищи выбрасываются через задний проход в виде мелких гранул – копролитов. Копролиты содержат гуминовые вещества (гуминовые кислоты и их соли – гуматы), которые делают эти гранулы водостойкими, водоемкими, стойкими к механическому воздействию и структурируют почву, делают ее плодородной и воздухопроницаемой. Кроме того, копролиты – это центры микробиологической активности широкого спектра почвенной флоры, а пищеварительная трубка червей – источник постоянного пополнения почвенной микрофлоры свежими генерациями микробов – основных потребителей (разрушителей) мертвых растительных животных тканей и разложения их в почве на углекислый газ и воду.

Продолжительность жизни дождевых червей (по отдельным источникам) достигает от 4 до 16 лет.

Как показывает практика, культивируемые черви не болеют и не подвергаются эпидемиям. Они могут погибать только из-за несоблюдения технологии их разведения.

Подготовка субстратов для компостных червей является одним из ключевых звеньев в вермитехнологии. От характера субстрата, сочетания составляющих его компонентов и других факторов зависят общее состояние популяции червей, интенсивность размножения и накопления биомассы, свойства, характер и количество копролита.

Разведение червей «Старатель» и производство биогумуса по технологии «Грин-ПИКъ» осуществляется на основе компоста из навоза крупного рогатого скота.

Субстрат имеет для червей двойное значение: это среда, в которой они обитают и осуществляют все жизненные функции, и пища, благодаря которой обеспечивается вся их жизнедеятельность.

В отличие от земляных червей, компостные адаптированы к обитанию и передвижению в рыхлой среде. Твердый грунт является для них непреодолимым препятствием. Кроме того, рыхлость субстрата, обеспечивая хорошую аэрацию, создает оптимальные условия для дыхания червей. Химизм среды, в том числе газовый состав, а также температуру и влажность относят к числу исключительно важных экологических условий для разведения червей.

Культивирование дождевых червей
Особенности размножения и развития

Дождевые черви размножаются обычно в течение всего теплого времени года, в условиях умеренного климата – с весны до осени. Размножение прекращается только во время зимовки и засухи, когда черви перестают питаться и уходят в глубокие слои почвы.

Несмотря на наличие мужских и женских половых органов в одной особи, оплодотворение у червей обычно перекрестное. Имеются некоторые данные о возможности у них самооплодотворения (Evans a. Guild, 1947). Однако скорее всего факты, относимые к самооплодотворению, следует толковать как случаи так называемого девственного размножения. Откладке яйцевых коконов обычно предшествует спаривание. Процесс спаривания прослежен у большого красного червя и навозного червя. Имеются некоторые наблюдения по спариванию длинного червя.

Рассмотрим процесс спаривания у навозного червя, где он хотя и протекает с некоторыми усложнениями вследствие расположения семеприемников на спинной стороне тела, но зато более полно известен и лучше изображен.

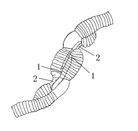
Спаривание может происходить на поверхности земли, но у навозного червя (а также у длинного червя) оно, несомненно, совершается и внутри грунта. Два червя сближаются ротовыми концами и, двигаясь навстречу друг другу, плотно соприкасаются брюшными сторонами в области передних 30–40 сегментов. Долгое время (до 1 часа) у обоих партнеров наблюдаются скольжение вперед в назад и обильное слизеотделение. Вокруг каждого червя образуется замкнутая трубка из слизи. Затем черви плотно слипаются брюшными сторонами таким образом, что 9–11-й сегменты, в которых расположены семеприемники одного партнера, располагаются против пояска другого партнера. Тогда железы, расположенные на брюшной стороне 9–11-го сегментов обоих червей, начинают усиленно выделять особое густое клейкое белое вещество, облекающее со всех сторон сегменты семеприемников одного партнера и сегменты пояска другого партнера. Сегменты пояска плотно присасываются к телу партнера валиками зрелости, и между последними образуется желобок, в который погружается область тела 9–11-го сегментов другого червя. В этих местах тело обоих червей перехвачено как бы двумя повязками.

Железистые подушки 15-го сегмента, на котором находятся мужские половые отверстия, сильно набухают, наполняясь кровью, а на пространстве от 15-го сегмента до конца пояска появляются с каждой стороны тела глубокие складки – семенные бороздки. Образование семенных бороздок происходит действием особой мускулатуры, расположенной в стенке тела. В эти бороздки из мужских половых пор изливается семенная жидкость, которая движется назад по телу червя, к пояску. Достигнув уровня отверстий семеприемников другого партнера, семенная жидкость изливается туда.

Процесс спаривания может длиться несколько часов. Потревоженные черви (например, найденные в состоянии спаривания в грунте) расходятся не сразу, и за ними нетрудно наблюдать, если предохранить их от сильного света и высыхания. После того как семеприемники обоих партнеров оказываются наполненными семенной жидкостью, черви расходятся и выползают из своих слизистых трубок. Такие копуляционные трубки бывают находимы в грунте. В них обычно остается избыточная часть семенной жидкости.

Иллюстрация к книге — Дождевые черви для повышения урожая [Autogen_eBook_id46.jpg]

Передние концы двух дождевых червей, находящихся в копуляции (по Каули). Путь от мужских отверстий (1) до семеприемников (2) обозначен стрелками

Некоторые виды дождевых червей лишены семеприемников. Как происходит спаривание у этих видов, пока не выяснено. Но известно, что отсутствие семеприемников заменяется у этих червей образованием сперматофоров. Так называются капли семенной жидкости, заключенные в засохшие слизистые выделения околощетинковых желез. Их находят прикрепленными в разных местах тела к кутикуле червей. По-видимому, это прикрепление совершается во время спаривания, причем сперматофоры, образованные каждым из червей, приклеиваются к кутикуле партнера при копуляции.

Яйца дождевых червей откладываются, как уже упомянуто, в яйцевых коконах. Раньше считалось, что коконы образуются во время спаривания. В последнее время выяснено, что образование коконов – акт, не зависимый от спаривания.

Вход
Поиск по сайту
Ищем:
Календарь