Книга Вода в доме и на участке, страница 27 – Галина Гальперина

Авторы: А Б В Г Д Е Ж З И Й К Л М Н О П Р С Т У Ф Х Ч Ш Ы Э Ю Я
Книги: А Б В Г Д Е Ж З И Й К Л М Н О П Р С Т У Ф Х Ц Ч Ш Щ Ы Э Ю Я
Бесплатная онлайн библиотека LoveRead.me

Онлайн книга «Вода в доме и на участке»

📃 Cтраница 27

Так, например, котел «Комфорт» КС-ТГ-25У (мощность 25 кВт) может работать на газе, угле или электричестве. Для установки в сельской местности есть модели котлов, которые можно топить даже дровами. Современные экологически чистые нагреватели используют электрический ток.

Существует много видов котлов, от самых простых до тех, которые предоставляют полный сервис услуг, например котлы с термостатами. Это несложное устройство служит не только для экономии, но и значительно повышает удобство пользования – нужно лишь установить желаемую температуру, и она будет поддерживаться автоматически. По достижении заданной величины отопление отключится, а когда температура опустится ниже определенной границы, котел вновь заработает.

Также возможно управление котлом с помощью таймера, когда задается не температурный «коридор», а время работы. Каким бы котел ни был, в каждый в обязательном порядке вмонтирован термометр, контролирующий температуру воды. Также конструкция котлов позволяет регулировать степень нагрева (в простейшем случае регулируется подачей газа к форсункам).

Подготовив все необходимое, можно приступать непосредственно к монтажу системы отопления.

Самый оптимальный вариант автономной системы водяного отопления – двухтрубная с естественной циркуляцией воды. Данная система получила такое название потому, что состоит из двух линий: горячей (она проходит сверху) и холодной (ее прокладывают по низу).

Система представляет собой следующее:

– от нагревательного элемента (печи, котла, АГВ и пр.) вверх выводят основную трубу (диаметром 60 мм), которую соединяют с расширительным баком. Бак располагают под потолком, но чаще на чердаке, в этом случае чердак должен быть утепленным;

– в боковую грань бака, в нижнюю ее треть, врезают трубу верхней линии, опускают ее до уровня развязки (не доходя до пола на 1/3 высоты помещения) и проводят трубы по всем отапливаемым помещениям и опускают вниз – она становится нижней линией (обраткой);

– на таком же уровне в бак врезают переливную трубу, которая служит для отвода в канализацию лишней воды;

– обратку также проводят по всем помещениям параллельно горячим трубам и врезают в нижнюю часть водонагревательного прибора. Система отопления таким образом становится замкнутой.

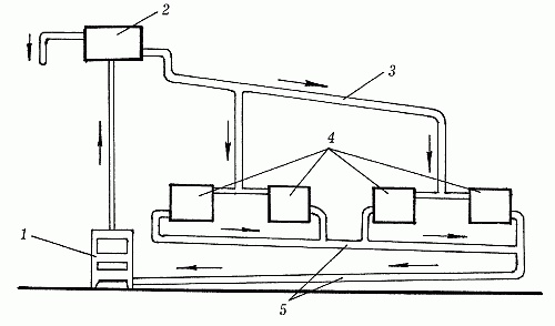
При проведении подобной системы отопления (рис. 50) важно тщательно продумать и просчитать разницу высот и ориентацию трубопроводов, а также местонахождение запорной арматуры.

Иллюстрация к книге — Вода в доме и на участке [i_048.jpg]

Рис. 50. Двухтрубная отопительная система с верхней разводкой: 1 – котел; 2 – расширительный бачок; 3 – разводящая магистраль; 4 – радиаторы; 5 – обратка


Поскольку в системе с естественной циркуляцией необходимо обеспечить давление, котел устанавливают ниже уровня радиаторов (либо в специальном углублении в полу, либо в подвале или цокольном этаже). Объясняется это тем, что чем больше разница уровней нагревательного элемента и излучателей тепла, тем выше давление.

Такая система вполне сможет отапливать дом из 4 комнат, кухни, ванной и санузла. Если надо обогревать дом большей площади, в систему включают водяной насос – он будет гнать воду по трубам. Но это будет уже несколько другая система, без естественной циркуляции.

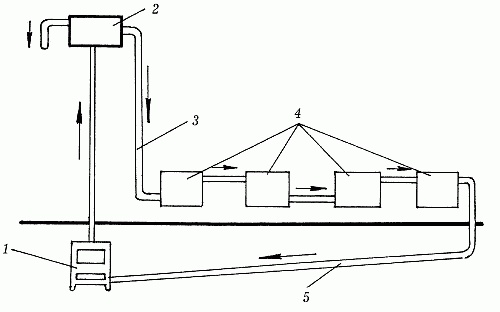
Если дом небольшой, в нем можно устроить совсем простую систему отопления (рис. 51). В этом случае магистраль прокладывают почти под потолком помещений, а обратку выводят под пол, закрепляя на лагах или балках перекрытия. Эта же система предпочтительнее тогда, когда в доме есть подвал или цокольный этаж.

Объем расширительного бачка зависит от отопительного прибора, применяемого в системе. Оптимальный объем – 25 л, но заполняют его лишь на 3/4, при этом важно следить за тем, чтобы бачок всегда был заполнен хотя бы наполовину, так как вода, нагреваясь, испаряется.

Уровень воды не может быть ниже уровня врезки трубы верхней линии в бачок: если это произойдет, вода перестанет поступать в горячую линию и циркуляция воды прекратится. Чревато это тем, что вода в основном стояке перегреется, закипит и котел взорвется.

Чтобы этого не произошло, 1–2 раза за отопительный сезон нужно доливать воду в бачок. Делать это можно через отверстие в крышке бачка или через специально врезанный для этой цели патрубок с краном, соединенным с водопроводом.

Во избежание образования воздушных пробок в трубах и обеспечения лучшего водотока и слива при прокладывании системы отопления следует укладывать трубы, расположенные по горизонтали, под небольшим уклоном по движению воды, равным 0,5 см на 1 м длины трубопровода. Этот уклон нужно учитывать при измерении труб.

В конце обратки, перед тем как соединить трубу с котлом (то есть в самом низком месте системы), необходимо врезать патрубок с краном для вывода воды в канализацию. Это будет нужно для того, чтобы спускать воду из системы (например, в случае ремонта).

Иллюстрация к книге — Вода в доме и на участке [i_049.jpg]

Рис. 51. Однотрубная отопительная система с нижней разводкой; 1 – котел; 2 – расширительный бачок; 3 – разводящая магистраль; 4 – радиаторы; 5 – обратка


Следует помнить и еще об одном немаловажном моменте: уточняя длину стояка, важно учесть высоту виброизоляции, той самой подушки, на которую устанавливают оборудование для предотвращения шумов. Ее, как и прочие детали, нужно приготовить заранее.

Как правило, прокладывать трубы приходится и горизонтально (под полом или на чердаке), и вертикально (в стенах), особенно это актуально для многоэтажных домов. Сборку же водопровода нужно вести последовательно, от одного помещения к другому.

Прокладка труб горизонтально

Если в доме навесные полы особой конструкции, то трубы можно крепить пластиковыми хомутиками прямо к перекрытиям или, если они проходят перпендикулярно к перекрытиям, провести в отверстия, просверленные в связках перекрытий. Диаметр отверстий должен быть на 12 мм больше диаметра трубы. Шире отверстия делать не рекомендуется, так как перекрытие будет менее прочным.

На чердаке трубы прокладывают поверх перекрытий.

Крепление труб должно быть таким, чтобы удержать трубы в том направлении, в котором их проложили, и в то же время чтобы трубы могли перемещаться по оси.

Обычно трубы крепятся двумя способами: подвижным и неподвижным (рис. 52). Если труба имеет наружный диаметр до 40 мм, то ее можно закрепить крючьями или сваркой, если диаметр трубы больше, ее укладывают на кронштейны и подвески.

Иллюстрация к книге — Вода в доме и на участке [i_050.jpg]

Рис. 52. Виды неподвижного крепления труб: а – скобой; б – на подвеске; в – на подвеске с опорной балкой; г – на кронштейне; д – крючком; е – на кронштейне и хомуте; ж – сваркой к кронштейну; з – на кронштейне с подкосом; и – к уголкам; к – к опорным столбам или колоннам; 1, 6 – хомут; 2 – тяга; 3 – болт; 4 – балка; 5 – скоба; 7 – подкос; 8 – дюбель; 9 – швеллер

Реклама
Вход
Поиск по сайту
Ищем:
Календарь