
Онлайн книга «Пол и гендер»
7. Виноваты женщины, для которых обручальное кольцо на пальце мужчины не является табу. 8. Виноваты жены, которые не уделяют сексуальным отношениям с мужем необходимого внимания. Рипинская М., 2001, с. 45–46. У женщин среди причин измены на первом месте стоит неудовлетворенность браком, хотя многие изменяли и при отсутствии этой причины. Для женщин измена больше связана с эмоциональными отношениями: неудовлетворенные в браке, они ищут серьезной привязанности во внебрачных отношениях. ... Почему женщины бросаются в объятия любовников 1. Чем раньше девушка выходит замуж, тем больше шансов, что чувство, приведшее ее в загс, постепенно начнет угасать. А за этим непременно последует измена. 2. Психологически женщина «готова» к измене, если ее брак не ладится. При этом она вовсе не ищет «связи на стороне», как принято думать, а лишь восполняет недостающий психологический пробел. 3. Желание проверить себя и самой себе доказать, что она еще на многое способна. 4. Если женщина уже в возрасте, то желание доказать себе, что она еще «о-го-го» и что старость ей нипочем. В этом случае, как правило, ее любовник будет значительно моложе мужа. 5. Бывает, что вступить в сексуальную связь женщину побуждает не «бешеное желание», а то, что «кавалер» ее настойчиво домогается. И она идет на рандеву по принципу «легче уступить, чем объяснять, почему ничего не хочется». 6. Иногда причиной становится любопытство. Женщина может «заиграться» во флирт или кокетство. 7. Женщина ищет Идеального Любовника. И это не обязательно супермен в постели. Достаточно, если он просто мягок, нежен, деликатен и умеет сопереживать. Эти качества любовника многие даже суперактивные женщины предпочтут всем изыскам отчаянных донжуанов. 8. Для большинства женщин любовник – это «шаг отчаяния». Было бы хорошо, если бы мужчины это осознавали. 9. Иногда женщина решается завести любовника, чтобы отомстить мужу-изменнику. 10. Если женщина изменила мужу однажды, она изменит еще не раз… 11. Некоторых мужей устраивает, когда у жены есть (или может появиться) любовник. Не потому ли, что тогда они чувствуют себя свободными? 12. Есть и еще одна причина измен: женщина просто «не может собой владеть». Практически каждый незнакомый мужчина кажется ей каким-то суперменом. И она хочет в этом лично убедиться. В постели, разумеется. Правда, подобное сексопатологи рассматривают как своего рода отклонение от нормы. Быть может, женщина попросту нимфоманка? Рипинская М., 2001, с. 97–98. По наблюдениям У. Харли, мужчины долго не могут разорвать любовный треугольник, женщины же предпочитают ставить точку сразу. У мужчин существует опасность возврата к любовнице даже через 5–6 лет после разрыва связи. ... Труднее хранить верность той женщине, которая дарит счастье, нежели той, которая причиняет мучения. Ф. де Ларошфуко Женщины лучше подготовлены к возможным разрывам интимных отношений. Они легче решают возникающие при этом проблемы, скорее устанавливают новые интимные отношения. Поэтому вероятность психических заболеваний как следствие разрыва интимных связей у женщин меньше, чем у мужчин (Андреева Т. В.,1998). 17.4. Гендерные особенности разводов В последние десятилетия разводов становится все больше. В период с 1965 по 1989 гг. количество разводов на Западе увеличилось в 4 раза. По мнению многих психологов, основным фактором, вызывающим рост числа разводов, является возросшая независимость женщин. Как правило, вопрос о разводе первой поднимает жена. Зачастую женщины раньше и сильнее начинают испытывать неудовлетворенность браком, однако это не означает, что окончательное решение о разводе всегда принимается ими (Kelly J., 1982). По американской статистике, за исключением возраста 15–19 лет, чаще разводятся мужчины, чем женщины (рис. 17.1).
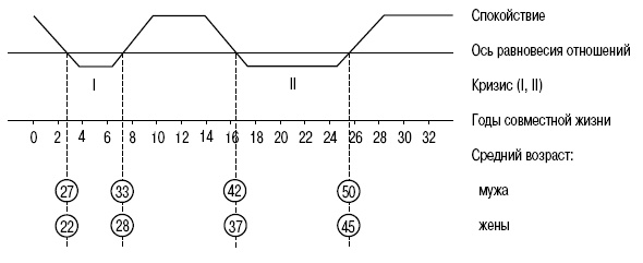
Рис. 17.1. Показатели количества разводов для мужчин и женщин в зависимости от возраста (по данным National Center for Health Statistic, Monthly Vital Statistics Report, March 22, 1995) По отечественным данным, у мужчин наблюдается два пика разводов (Хрипкова А. Г., Колесов Д. В., 1982). Первый приходится на 25–29 лет и характерен для тех, кто вступил в брак в молодые годы (часто с женщинами старше себя) с целью обеспечения себя городским жильем и постоянной пропиской в годы учебы или при поступлении на работу. Когда брак по расчету утрачивает значение способа с удобствами прожить относительно трудный период жизни, неизбежно следует решение, что пора разводиться. Второй пик (около 20 % от общего числа разводов) приходится на возраст 35–39 лет, и его причинами являются интимные связи с другими женщинами, особенно во время долгих отлучек в семье в связи с поездками на учебу при повышении профессиональной квалификации (аспирантура, краткосрочные курсы и т. п.). ... Современная женщина – это самостоятельный человек, часто экономически от мужа не зависящий (в 25 % случаев она и зарплату получает большую, чем муж). Благодаря возможности содержать и себя и ребенка, замужние женщины сравнительно легко идут на развод. Неслучайно чаще всего (две трети случаев) инициатором развода являются именно они. Лисовский В.Т., 1986, с. 78. Несколько иные сроки кризисов семейных отношений приводит С. Кратохвилл (1991): первый кризис наступает на 3–7 году совместной жизни (для мужчин это возраст 27–33 года, а для женщин – 22–28 лет), второй – через 17–25 лет совместной жизни (для мужчин – в возрасте 42–50 лет, для женщин – в 37–45 лет), см. рис. 17.2. По С. Кратохвиллу, важен не возраст мужчины и женщины, а стаж их совместной жизни.
Рис. 17.2. Развитие кризисов в семейных отношениях ... В повседневной обстановке эмоциональное состояние жен, подвергающихся психологическому насилию в супружеских отношениях, более неблагополучное в сравнении с мужьями, но при сохранении амбивалентных чувств к ним. Вне зависимости от того, подвергаются супруги психологическому насилию или нет, они ощущают себя рядом с супругом эмоционально более комфортно, нежели в межличностных отношениях с другими людьми. Поэтому насильственные отношения поддерживаются. Дмитриева Д. Я., Фурманов И. А., 2008, с. 127–128. И. В. Берно-Беллекур (1998) показана связь разводов с нарушениями полоролевой самоидентификации. |